La próxima consola de PlayStation podría remasterizar los juegos a través de retrocompatibilidad.
El pasado 2 de octubre surgió una patente que lleva por nombre “remasterizar a través de emulación”. El dueño de esta idea es Sony Computer Entertainment America y lo primero que nos hace pensar es que podría ser una característica del PS5.
(adsbygoogle=window.adsbygoogle||[]).push({});
Ahora, suena muy bien, incluso nos hace imaginar lo mejor para la futura consola de Sony, sin embargo, la propuesta no es reciente pues fue presentada el 22 de noviembre de 2016. Eso quiere decir que pasó por mucha burocracia.
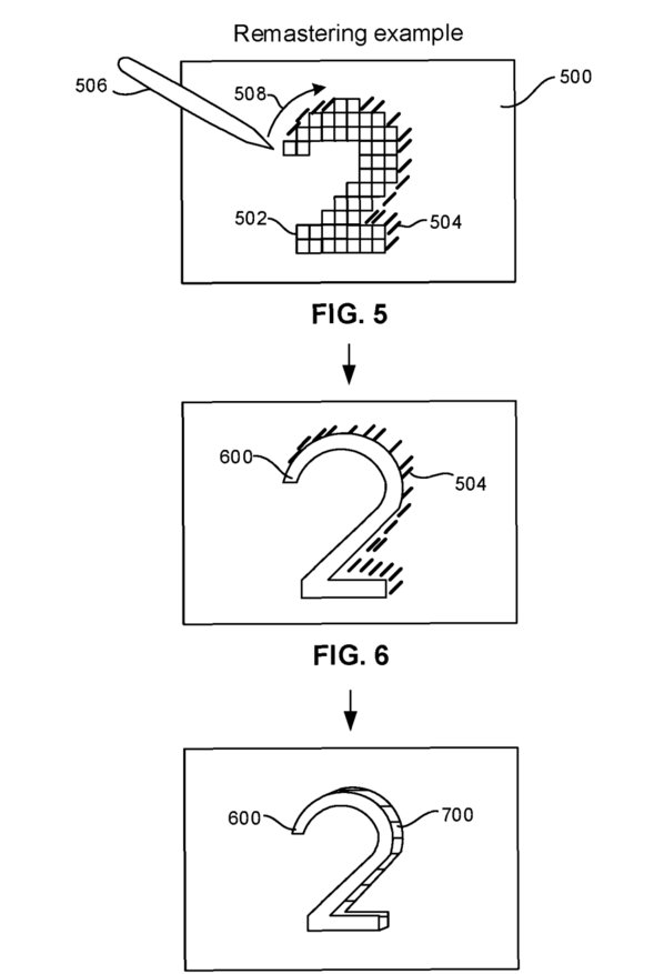
¿De qué trata esta aplicación? En esencia detalla la remasterización en vivo de texturas de juegos viejos, reemplazándolas con nuevas en el momento, para las pantallas de esta generación.
“Cada asset, como una textura, tiene un identificador único el cual es llamado por un ‘legacy software’ como el software de una computadora vieja”, explica la patente. “El único identificador puede ser rendereado al imponer un hash en el asset, y luego el asset es guardado con su identificador en una estructura de datos. Un artista remasteriza las texturas para ser presentada en una pantalla de alta resolución en vez de la usada para el software original y la guarda en la estructura de datos con otros identificadores.

“El software original luego es reproducido en una pantalla con una resolución más alta, con el llamado del asset siendo interceptado, identificado y la estructura de datos ingresada para recuperar el asset remasterizado que tiene un identificador coincidente. El asset remasterizado luego es insertado ‘al aire’ (de inmediato, como sale) en la presentación del juego”.
La patente también habla de la remasterización de audio con el mismo proceso. Esto quiere decir que se trata del mismo sistema el cual ya conocemos que es usado para remasterizar música.

En otras palabras, la consola hace el trabajo de la remasterización de los archivos del juego original. Este proceso lo realiza cómo viene y lo entrega con la calidad deseada en una pantalla de mayor resolución. Por otro lado, falta revisar si el software viene de un disco o un archivo digital.
Cabe recalcar que por la fecha en que fue ingresada esta patente, PlayStation tal vez la tenía planeada para el PS4, sin embargo, ahora podría asociarse con el PS5 debido a la llegada de la próxima consola.
http://www.tierragamer.com/ps5-y-xbox-scarlett-alcanzaran-el-fotorrealismo-dice-desarrollador/
Ahora bien, tal vez sea muy tarde para aprovechar esto con el PS4 y más lógico si se usa el potencial técnico que podría tener el PS5. Aún es muy pronto para definir que sucederá. Por el momento, solo resta esperar y saber qué va a suceder con la nueva consola de Sony la cual podría llegar durante los próximo 2 años.


